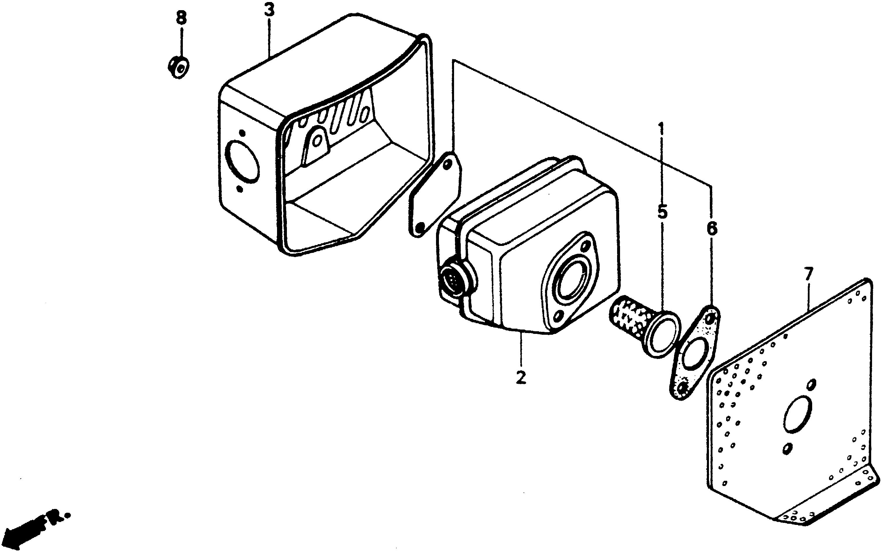
Lawn Mowers HR HR216 HR216 SXA MACR-1000001-3000000 MUFFLER - First Place Rental, Inc.

Ref No
Part Number
Description
Serial Range
Qty
Price

Ref No
1
Part Number
06180-ZE6-820
Description
ARRESTER KIT, SPARK
Serial Range
1000001 - 9999999
Qty
Price
$28.90

Ref No
2
Part Number
18310-ZE7-013
Description
MUFFLER
Serial Range
1000001 - 9999999
Qty
Price
$73.36

Ref No
3
Part Number
18320-ZE7-003
Description
PROTECTOR, MUFFLER
Serial Range
1000001 - 1039228

Ref No
3
Part Number
18320-ZE7-013
Description
PROTECTOR, MUFFLER
Serial Range
1039229 - 9999999

Ref No
5
Part Number
06180-888-505
Description
ARRESTER KIT, SPARK
Serial Range
1039229 - 9999999
Qty
Price
$19.42

Ref No
6
Part Number
18381-ZE6-820
Description
GASKET, MUFFLER
Serial Range
1000001 - 9999999
Qty
Price
$4.90

Ref No
7
Part Number
18381-ZE7-800
Description
GASKET, MUFFLER
Serial Range
1000001 - 9999999
Qty
Price
$21.36

Ref No
8
Part Number
90343-ZE6-000
Description
NUT, SELF-LOCK (6MM)
Serial Range
1000001 - 9999999
Qty
Price
$2.18