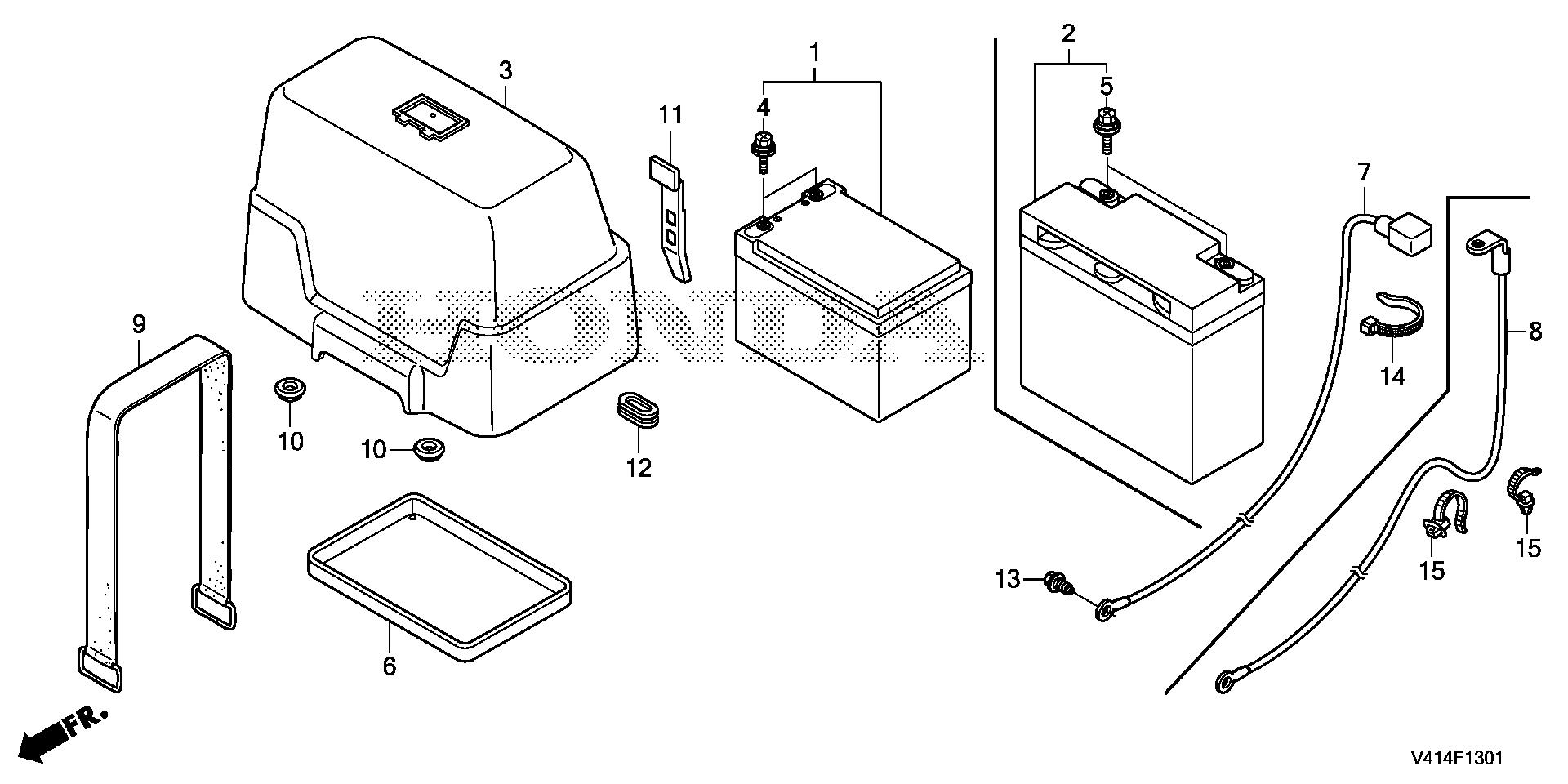
Snow Blowers HSS HSS1332 HSS1332A PTD SAFA-2000001-9999999 BATTERY (2) - First Place Rental, Inc.

Ref No
Part Number
Description
Serial Range
Qty
Price

Ref No
2
Part Number
31500-V45-811
Description
BATTERY (HR19-12) (FOR CALIFORNIA) (MSDS)
Serial Range
1000001 - 9999999
Qty
Price
$145.92

Ref No
3
Part Number
31504-V45-A10ZA
Description
COVER, BATTERY *NH1* (BLACK)
Serial Range
1000001 - 9999999
Qty
Price
$10.44

Ref No
5
Part Number
31533-V45-A51
Description
BOLT-WASHER (6X12)
Serial Range
1000001 - 9999999
Qty
Price
$1.88

Ref No
6
Part Number
31559-V45-A50
Description
RUBBER, BATTERY
Serial Range
1000001 - 9999999
Qty
Price
$19.30

Ref No
8
Part Number
32600-V45-A50
Description
CABLE ASSY., GROUND
Serial Range
1000001 - 9999999
Qty
Price
$12.96

Ref No
9
Part Number
50327-V45-A50
Description
BAND, BATTERY
Serial Range
1000001 - 9999999
Qty
Price
$117.72

Ref No
10
Part Number
54243-V45-A10
Description
GROMMET, COVER
Serial Range
1000001 - 9999999
Qty
Price
$1.14

Ref No
11
Part Number
63103-V21-000
Description
BELT, ENGINE COVER
Serial Range
1000001 - 9999999
Qty
Price
$5.66

Ref No
12
Part Number
83601-MB0-000
Description
GROMMET A, SIDE COVER
Serial Range
1000001 - 9999999
Qty
Price
$6.06

Ref No
13
Part Number
90013-883-000
Description
BOLT, FLANGE (6X12) (CT200)
Serial Range
1000001 - 9999999

Ref No
14
Part Number
90651-KV6-003
Description
BAND, WIRE (165MM) (BLACK)
Serial Range
1000001 - 9999999
Qty
Price
$4.26

Ref No
15
Part Number
91541-S0A-003
Description
CLIP, HARNESS BAND (145MM) (BLACK)
Serial Range
1000001 - 9999999
Qty
Price
$4.84